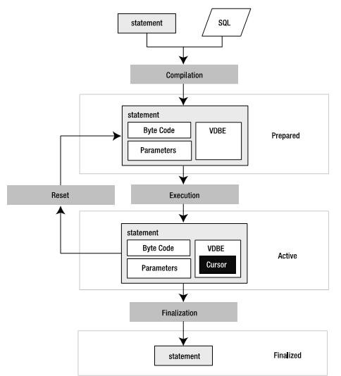
使用SQLite的C API函数可以对SQLite执行的过程有一个清晰的了解,就像SQLite结构图(图1-1)中一样,SQLite执行有三个大的步骤,具体过程如图3-1所示:
SQLite首先创建或者打开一个数据库,然后执行相应的SQL语句,最后关闭数据库,这也是数据库操作的一般步骤。在执行SQL命令过程中,又分为了三个阶段,在Prepare阶段,输入的SQL语句通过分析器(parser),分词器(tokenizer)和代码生成器(code generator)编译成VDBE字节码。传入sqlite3VdbeExec函数的Vdbe类型指针变量p中,已经包含了所有需要执行的操作码(如图3-2)。p中的aOp的官方解释为:Space to hold the virtual machine‘s program,根据图3-3可以看出,aOp是存放操作符的空间。
在执行阶段,虚拟机执行操作符,执行过程是一个步进的过程,每一步都是由sqlite3_step函数启动,并由sqlite3VdbeExec函数执行由Prepare阶段编译的操作符。在Final阶段,先是执行sqlite3VdbeFinalize函数关闭VDBE,然后执行sqlite_finalize()函数结束SQLite的执行。通过下图3-4可以更容易理 解这个过程。
